比較資料
カートへ入れる
比較表
作成する
カート
空にする

照明用鋼製テーパーポール(耐疲労型開口部)

2021/02/09 更新
  • 新技術
  • 従来技術
  • 新技術 耐疲労型開口部
  • 従来技術 標準開口部

NETIS登録番号:HR-140008-A(旧登録)

概要

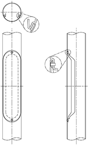
開口部をポールと一体でプレス成型した照明用鋼製テーパーポール

お問い合わせ
お気に入りに登録
カートへ入れる

新規性

・開口部の取付用BOX(補強枠)の溶接をなくし、開口部をポールと一体でプレス成型した。
・ポール外周の突起部をなくし、開口部がポール外周とフラットになった。

期待される効果

・溶接をなくしたことにより、開口部近傍に疲労破壊の原因となる溶接熱影響部がなく、開口部の疲労等級がGからCに向上した。
・ポール外周の突起部をなくしたことで、歩道等の通行者による接触事故の低減ができ、且つ、よりスマートな形状となり景観が向上する。

適用条件

① 自然条件
・特になし。
② 現場条件
・現場条件は従来技術と同等である。
・設置条件として基礎を含めた建柱スペース0.5m×0.5m=0.25m2が必要。
・別途、建柱前にポールを仮置きできるスペースや建柱時に使用する重機(クレーンなど)を配置するスペースが必要。
③ 技術提供可能地域
・制限なし。
④ 関係法令等
・建築基準法 改正平成25年6月14日(国土交通省)

施工事例・施工実績

施工手順

会社情報

会社名
ヨシモトポール(株)
TEL
03-3214-1551
企業情報
公式サイト

このカテゴリーでよく比較される工法

!

エラーが発生しました。

次のいずれかの理由が考えられます。

比較可能な数量を超えたため
カートに追加できませんでした。
比較できる点数は20点までです。
「工種・工法」と「資材」を同時に
比較することはできません。
カート内を整理してご利用ください。
2点以上をカートに追加してください。
カート内容を確認する カート
空にする
!

カートへの追加
ありがとうございます。

会員登録をすれば、
カートに入れた製品の
比較表のダウンロードができます。

会員の方はこちら(ログイン) 新規会員登録
!

お気に入り登録
ありがとうございます。

会員登録をすれば、マイページより
いつでもお気に入り登録した商品を
見返すことができます。

会員の方はこちら(ログイン) 新規会員登録